美式600/200转换接头
- 产品->电力电缆附件->1-35kV可分离连接器及配套产品
- 1-35kV可分离连接器及配套产品
型号:WAZH-15/600/200
电气性能
额定电压 | 15kV(8.3/14.4kV) |
额定电流 | 600A |
工频耐压(AC) | 39kV/5min |
局部放电 | 15kV,≤10pC |
冲击电压 (正负极性各10次) | 95kV |
屏蔽电阻 | ≤5000Ω |
注:该产品满足IEC 60502.4,IEEE-386及GB/T 12706.4要求 | |
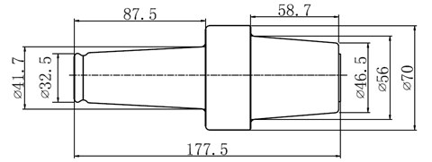
结构尺寸

产品型号说明

主要配件
转换接头、硅脂膏、清洁纸






